M I T S U B I S H I

Електронний каталог
запчастин МІЦУБІСІ

(044) 566-04-13,
(067) 501-42-43, (050) 938-35-12

Оригінальні запчастини Міцубісі / Mitsubishi. Електронний каталог.

  Електронний каталог запчастин для автомобилів MITSUBISHI
допоможе підібрати необхідну автозапчастину, визначити її оригінальний номер,
а також отримати інформацію про наявність і вартість запчастини і її аналогів в
ІНТЕРНЕТ-каталозі автозапчастин shop-autoparts.com.ua
 

Запчастини     Моделі   















> Автомобіль: GALANT (1.10.1996-3.03.2006)
> Модель: 2500/2WD /EA5A/

> Група: ВНУТРІШНІ КОМПОНЕНТИ КУЗОВА /52/
> Підгрупа: ПОКРИТТЯ ПІДЛОГИ /310/



Выберіть ЗАПЧАСТИНУ:

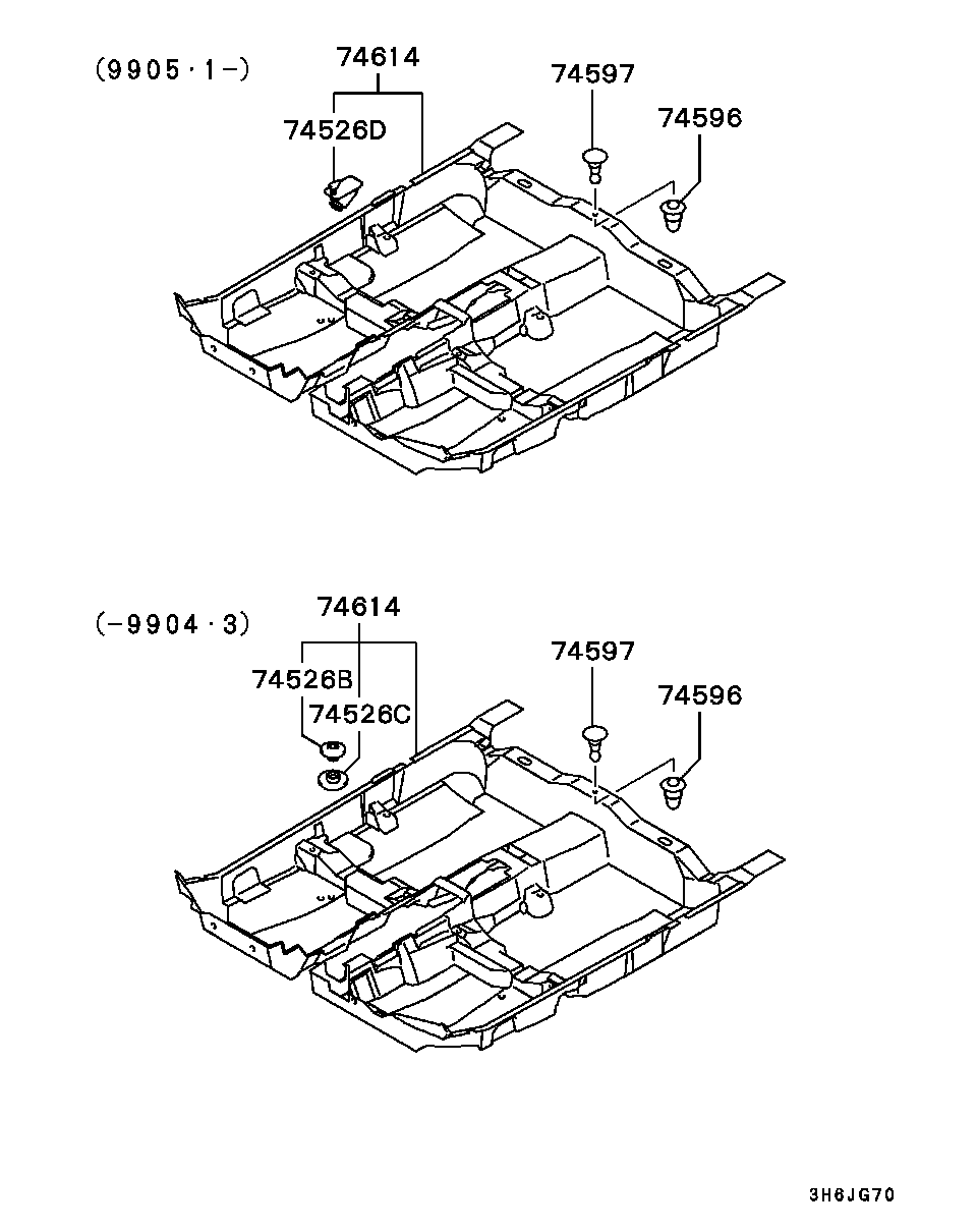
74526B
HOOK,FR FLOOR CARPET
74526C
HOOK,FR FLOOR CARPET
74526D
HOOK,FR FLOOR CARPET
74596
GROMMET,FR FLOOR CARPET
74597
CLIP,FR FLOOR CARPET
74614
MAT,FLOOR




 
 Для вибору запчастини на схемі
збільште зображення.
Запитання
Скарги
Пропозиції





































Колекція прапорів
с 15-04-2013


Flag Counter