M I T S U B I S H I
Електронний каталог
запчастин МІЦУБІСІ
(044) 566-04-13,
(067) 501-42-43, (050) 938-35-12
|
Оригінальні запчастини Міцубісі / Mitsubishi. Електронний каталог. |
| |
Електронний каталог запчастин для автомобилів MITSUBISHI
допоможе підібрати необхідну автозапчастину, визначити її оригінальний номер,
а також отримати інформацію про наявність і вартість запчастини і її аналогів в
ІНТЕРНЕТ-каталозі автозапчастин shop-autoparts.com.ua
|
|
|
|
|
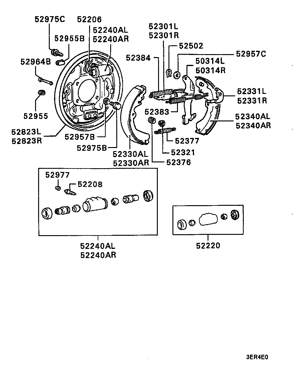
> Автомобіль: COLT/LANCER (1.05.1988-3.07.1995) > Модель: 1600SOHC/2WD(4DOOR) /C66A/ > Група: ГАЛЬМІВНА СИСТЕМА /35/ > Підгрупа: ЗАДНЄ ГАЛЬМО /160/
Выберіть ЗАПЧАСТИНУ:
| 50314L |
LEVER,PARKING BRAKE OPERATING,LH | | 50314R |
LEVER,PARKING BRAKE OPERATING,RH | | 52206 |
GASKET,RR BRAKE CYLINDER | | 52208 |
BLEEDER,RR BRAKE CYLINDER | | 52220 |
CUP & BOOT KIT,RR BRAKE CYLINDER | | 52240AL |
CYLINDER ASSY,RR BRAKE,LH | | 52240AR |
CYLINDER ASSY,RR BRAKE,RH | | 52301L |
ADJUSTER,RR BRAKE SHOE SLACK,LH | | 52301R |
ADJUSTER,RR BRAKE SHOE SLACK,RH | | 52321 |
CUP,RR BRAKE SHOE SPRING | | 52330AL |
Колодка паркувального гальма передня ліва | | 52330AR |
Колодка паркувального гальма передня права | | 52331L |
LEVER,RR BRAKE SHOE SLACK ADJUSTER,LH | | 52331R |
LEVER,RR BRAKE SHOE SLACK ADJUSTER,RH | | 52340AL |
Колодка паркувального гальма задня ліва | | 52340AR |
Колодка паркувального гальма задня права | | 52376 |
SPRING,RR BRAKE SHOE HOLD-DOWN | | 52377 |
SPRING,RR BRAKE SHOE RETAINER | | 52383 |
SPRING,RR BRAKE SHOE TO LEVER | | 52384 |
SPRING,RR BRAKE SHOE TO SHOE | | 52502 |
RETAINER,RR BRAKE CHAMBER | | 52823L |
PLATE,RR BRAKE BACKING,LH | | 52823R |
PLATE,RR BRAKE BACKING,RH | | 52955 |
PLUG,RR BRAKE | | 52955B |
PLUG,RR BRAKE | | 52957B |
WASHER,RR BRAKE | | 52957C |
WASHER,RR BRAKE | | 52964B |
Напрямна супорта заднього | | 52975B |
Болт | | 52975C |
Болт | | 52977 |
Ковпачок штуцера прокачки |
|
| 
| | | ALL
| | | Для вибору запчастини на схемі збільште зображення.
|
| |
|